MULTI-BAND DIPOLE
I do not have any formal plans on this antenna. Clyde Dominy N5IF has the plans in his head!
There were several people at my place to help with this antenna project. This was a year or
Two ago so if I forgot someone, Please forgive me.
Clyde – N5IF
Jimmy – KC5VWE
Al – N5WWS
Brenda – KB5RSH
Sam N – N5AF
Cy – W5DXE
Doug – KC5LWK
Sam W. – N5RSO
(and one or two others)
Like I said, this was about two years ago….. This page is just a “rough-draft” Plan on how to build this
I am sure that there is a step or two that I am leaving out of this…………….
Please contact Clyde for the fine detals!
This Antenna works very well. It handles 600 watts with no problems and I have talked all over the
U.S.A. with it……………….. The best thing is that you don't need a tuner when you change bands….
10 / 20 / 40 / 80 meter bands
OK, Here we go:----------------------------------------------------------------
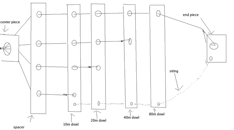
A small drawing of the antenna:

I used 12 gauge stranded copper wire… Remember the formula for cutting a dipole
468 / freq. So if you wanted a dipole for 10m… find the center of the band that
You want to talk on… 28.5 mhz for me…. then take 468 / 28.5 = 16.7 feet (total ) … you then
Divide 16.7 by 2 for your two sides of the dipole so 16.7 / 2 = 8.35' per side…….
Be sure to leave a few inches extra for tuning………
The Center Piece:--------------------------------------------------------------------------------------------------------------------

The End Piece: ------------------------------------------------------------------------------------------------------------------------------

Dowel Rods -------------------------------------------------------------------------------------------------------------------------------------

There should be about 7” between the wires I put Urethane on the dowels to repel water

Jam tooth picks into the holes with the wire to keep the dowel from moving around on you….
When you are done with the tuning and adjusting then HOT GLUE all points.

Adjusting the pull string: ------------------------------------------------------------------------------------------------------------------------

Good luck